
玻璃板液位计可用来直接指示密封容器中的液位高度,具有结构简单,直观可靠,经久耐用等优点,但容器中的介质必须是与钢、钢纸及石墨压环不起腐蚀作用的。
产品结构
仪表的上下阀上装有法兰接头,与容器连接构联通器,透过玻璃板直接指示容器布什的液位,“夹套型”设有加热或冷却装置。该装置加热时可用蒸气,冷却时可用循环水,这样可以调节流动性能,夹套型接管尺寸ZG1/4内螺纹。
在上下阀内装有钢球,当玻璃板因意外事故破坏时,钢球在容器压力作用下,自动密封,防止容器内的液体继续外流。
在仪表的上端针形阀装有阻塞螺钉,可供放气之用,下端针形阀也装有阻塞螺钉。可供放空、取样、排污、清洗。
技术数据
针形阀的自动关闭压力 ≥0.222MPa
夹套蒸气压力为 ≤0.612MPa
玻璃板的急变温差为 ≤240℃
注:我厂承接特殊规格的定货。
玻璃板液位计产品类型
外型尺寸图
II(1Cr18Ni9Ti)
II(1Cr18Ni9Ti)
II(1Cr18Ni9Ti)
II(1Cr18Ni9Ti)
II(1Cr18Ni9Ti)
II(1Cr18Ni9Ti)
II(1Cr18Ni9Ti)
△
△
II(1Cr18Ni9Ti)
△
安装、使用与维护
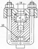
1.针型阀 2.本体 3.压盖 4.衬垫 5. 玻璃板 6.螺母 7.垫片 8.U型螺栓 9.螺柱 10.加热夹套

反射式普通型

反射式夹套型(Z)

透光式普通型

透光式夹套型(Z)
1、为了保证自动密超过计划作用,容器内的介质压力不得小于0.2MPa,在打开上下阀时,阀杆退出转数不少于4转(使钢球封门时,不致于碰到阀杆的顶端)。
2、使用中的仪表应定期检查。清洗玻璃板内外壁污垢,使液位显示清晰。
3、检修装配玻璃板在旋紧螺栓时,要密切注意玻璃板受力不均而破碎。因此,螺栓须严格按图示1、2、3┈┈┈10、11、12顺序交叉地分多次夹紧玻璃板。